- Tylko online
Masz pytania? Chciałbyś negocjować cenę
Zadzwoń! 577 575 011
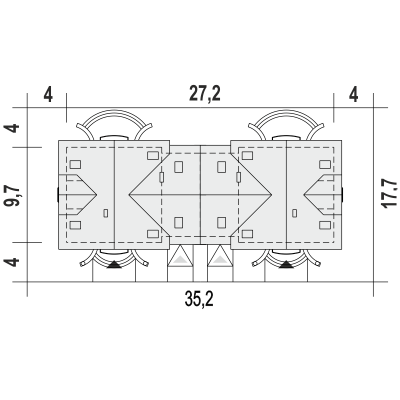
Budynek jednorodzinny parterowy z poddaszem nieużytkowym, niepodpiwniczonyŚciany zewnętrzne: gr. 39 cm z pustaków ceramicznych + styropian; strop: żelbetowy; dach: dwuspadowy o nachyleniu 35 stopni, krycie dachówką
